
Saris PowerTap C1
Developing an industry-leading cycling power meter
Tags
A device that accurately measures and records a bicyclist’s power output with industry-leading accuracy. The PowerTap C1 enables cyclists to access performance data both during and after their training rides and leverage that information to improve their training.
As the patent for the original cycling power meter, the PowerTap H1, neared the end of its term, Saris wanted to extend its market share by releasing a new product that measured power with the same accuracy and lower cost but at a different spot on the bicycle.
Based on a history of successful collaborations and our deep understanding of the product and patent space from creating the original hub-based device years earlier, Saris asked us to develop a new power meter to offer its customers.




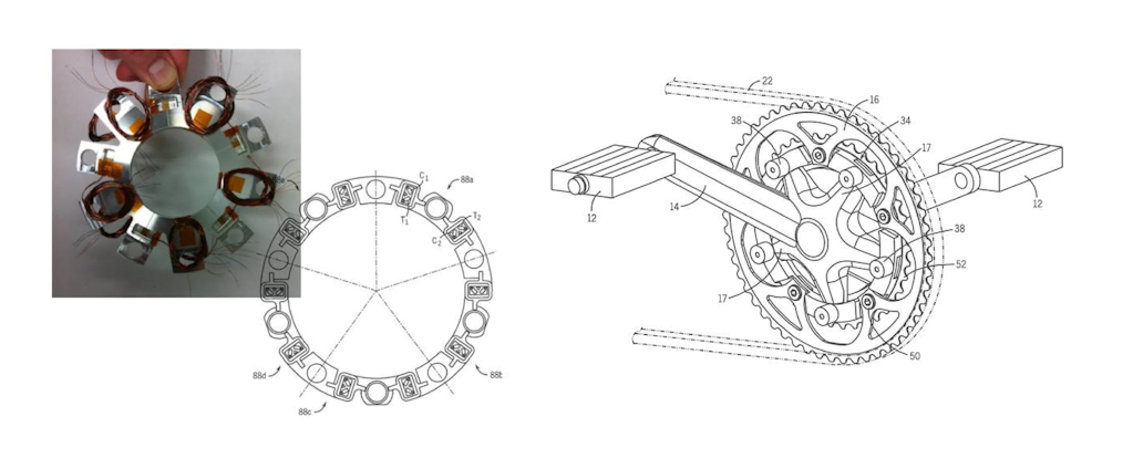
The technical challenge with these sorts of devices is to very accurately measure the productive torque transmitted from the cyclist to the road while being completely insensitive to all other loads that can occur, such as wheel forces from hill climbs or radial forces from rider weight and impacts.
Leveraging research done during a previous engagement with Saris, we determined a crank-based solution would be the most cost-effective solution while providing the necessary accuracy using strain gauge-based sensors.

Through our understanding of the fundamental physics of how materials behave under shear stress, we determined the arrangement of the sensors, developed an associated algorithm, and strategised how to calibrate the system in production. The resulting PowerTap C1 accurately measures torque while being insensitive to other factors.

With these innovations, a rider can jump up and down on the bicycle or pull the wheel from side to side to simulate the stresses of a hill climb, and the output will read zero. But lay as much as a finger on the pedal, and the PowerTap will register a barely perceptible 1 oz-in of torque.

The PowerTap C1 device was released in 2015 with great results; mirroring the successful release of the original H1, it received Best New Product at the annual Eurobike show and has continued to receive great reviews from cyclists since. By offering its customers another accurate way to gain insight into their training and racing, Saris maintained its long-held position at the top of the market.
Explore more
